Did Apple first invent a phone with a flexible display?

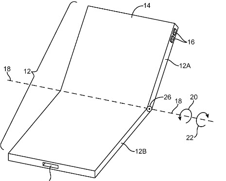
Apple have just been granted US patent 9504170 for a phone with a flexible display device, which is attracting a bit of press.

US patent 9504170 flexible phone display

But did they invent the concept? If not, who did? And how would we find the answer to this questions in a matter of seconds?

The answer to these question is the our new Family Cluster Searching. US9504170 is so new that our technicians have yet to add this to our patent network, but there is an associated patent application, being US20140328041. It is easy to enter this in Cluster Searching - which being based on patent families will also bring in the patent citations for the earlier granted family member US8787016, for essentially the same invention.

Ambercite family cluster searching US20140328041

Family Cluster Searching will produce a list of the most similar patents, ranked in order of similarity patents, with the ability to distinguish between existing citations (Known) and not yet recognised but similar documents (Unknown). This list can be exported to Excel, and and filtered and sorted in the usual way - or this sorting and filtering can be done in our interface.

patent family cluster searching Ambercite apple phone flexible display

In this analysis we will look for patents

  • With a priority date earlier than the 6th July 2011 priority date of the Apple patent

  • Filed by Apple, or companies other than Apple

  • Known and unknown citations.

And what can we find?

 

Most similar and relevant prior art patent filed by Apple

This is US8816977, for a Electronic devices with flexible displays, and with a priority date of 21 March 2011. Of note, this is not listed as a citation for the US9504177 patent. Nonetheless is a valid Apple patent, so we might move the priority date cuttoff forward to this date. Compared to the Apple patent US201410320841, this patent has a similarity score of 16 (please contact us for more details of how we calculated this).

US8816977 Electronic devices with flexible displays Apple patent

Earliest patent in list filed by Apple refering to flexible touch screen circuits

Back in 2007 Apple filed the priority document for  US8144129  Flexible touch sensing circuit, but this was more aimed at three dimensional objects. This patent has a similarity score of 7.5, and it is not a listed citation for the US9504170 patent.

US8144129 Flexible touch sensing circuit Apple priority document

Closest patent not filed by Apple

This is EP2403222 for a Mobile communication terminal with flexible display, with a priority date of June 2010. This was filed by Pantech, and has a not granted US family member of US20120002360. Pantech is a Korean company. This patent has been cited against US9504170, and a similarity score of 13.

EP2403222 Mobile communication terminal with flexible display Pantech

Earliest patent in listed referring to a flexible display

Back in 1997 Mitsubishi filed the priority document for US6377324, for a Structure for installing flexible liquid crystal display panel, as shown below. Of note, this patent is not listed as prior art for US9504170, and does have a similarity score of 9.5.

US6377324 Structure for installing flexible liquid crystal display panel

About 6 months after this Samsung filed the priority document for US6016176, for a Liquid crystal display device with a flexible liquid crystal cell that is folded. Again this is a patent that has not been cited by the examiners for this patent. This has a similarity score of 5.5.

US6016176 Liquid crystal display device with a flexible crystal cell that is folded Samsung priority document

And in third position of the patents I found, I would put Fujufilm, who filed EP1635313 with a priority date of September 2009 for a Foldable display device comprising a flexible display screen. This has been cited against the Apple US9504170  patent, and has a similarity score of 10.

EP1635313 Foldable display device flexible display screen Fujifilm

Summary - So who did invent the flexible screen phone?

From this simple and very quick analysis, I would say Mitsubishi, ahead of Samsung and Fujifilm - all somewhat earlier than the recent Apple patents for this concept. 

 

Want to try this for yourself?

Please contact us for a free trial of Family Cluster Searching

 

Are you serious about invalidating this patent?

The above analysis was done in a very simple fashion. If you were serious about invalidating this patent, there are a few more tricks we could apply - which we are happy to talk about in person. 

 

Gavan Farley